正常使用的喷头停止使用在90天以内
第一步:关机后,用清洗剂将喷嘴表面冲洗干净;
第二步:执行加压挤墨,清除喷嘴表面的残留清洗剂,并保证喷嘴表面的清洗剂被墨水清理干净,然后将喷嘴保护板上的墨水擦拭干净;并盖上喷头保护盖;
第三步:取下供墨墨盒,插入维护墨盒,并使用密封袋或者保鲜膜,将喷头包裹起来,防止喷头内部墨水干燥挥发;并将保护好的喷头存储到阳光照射不到的空间。
清洗及维修过的喷头停止使用在90天以内
第一步:喷头清洗或者维修完成后,插入供墨墨盒,操作加压挤墨,将墨水注入喷头;同时清除喷嘴表面的残留的清洗剂或者丙酮,并保证喷嘴表面的清洗剂被墨水清理干净,然后将喷嘴保护板上的墨水擦拭干净;并盖上喷头保护盖;
第二步:取下供墨墨盒,插入维护墨盒,并使用密封袋或者保鲜膜,将喷头包裹起来,防止喷头内部墨水干燥挥发;并将保护好的喷头存储到阳光照射不到的空间。
喷头停止使用超过90天
将喷头清洗完成后,使用维护墨盒将 保湿剂注入喷头;然后盖好喷头保护盖, 并使用密封袋或者保鲜膜,将喷头包裹起来,防止喷头内部保湿剂挥发。
使用白墨喷头停止使用超过15天
喷头清洗完成后,插使用维护墨盒将保湿剂注入喷头;然后盖好喷头保护盖, 并使用密封袋或者保鲜膜,将喷头包裹起来,防止喷头内部保湿剂挥发。
喷头清洗操作步骤
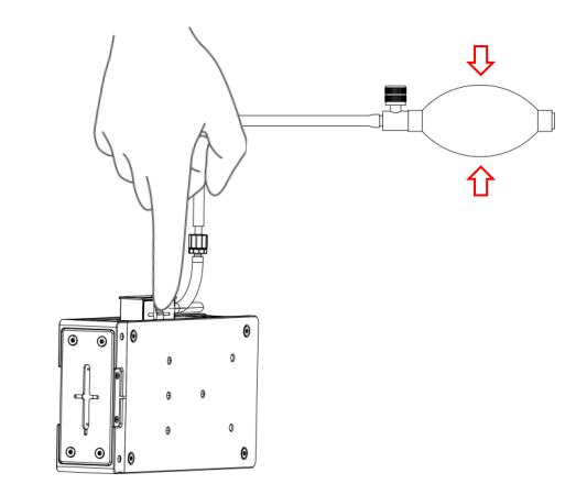
第一步:关机后取下供墨墨盒。执行【喷头排空】,使用清洗墨盒及加压球将喷头内部墨水排出;
1:插入“清洗墨盒”、接好加压球,取下喷头盖;
2:缓挤加压球,重复几次,排空喷头内的废液。

第二步:执行【喷头清洗】,使用清洗墨盒、清洗剂将喷头内部墨水清洗干净;
1:插入“清洗墨盒”、连接盛有清洗剂的针筒;
2:缓慢向前推送针筒,待喷嘴流出的清洗液;
3:执行【喷头排空】步骤排出清洗液;多次交替进行第二步和第三步,直至溢出透明清洗液为止。
